-

45V耐压500mA驱动!润石科技为车用 LED 灯打造的驱动利器
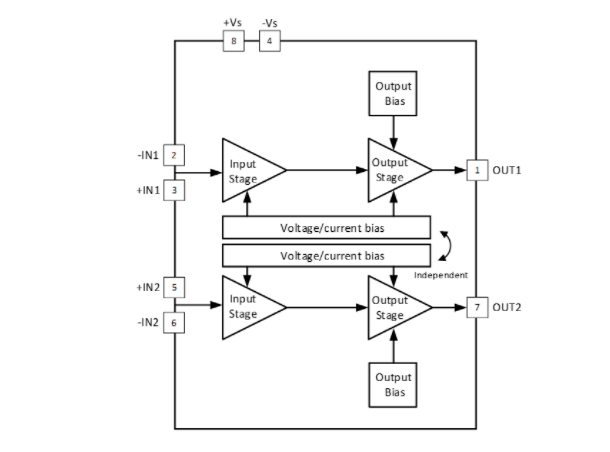
润石科技推出RS3700-Q1单通道高侧LED驱动芯片,采用车规级工艺设计,支持4.5V-40V输入电压及45V极限耐压,提供最大500mA驱动电流。该芯片具备±4.6%全温度范围电流精度,集成LED开路/短路自诊断与热共享功能,通过EMSOP8封装兼容TI产品引脚,为车尾灯、氛围灯等车载照明提供高可靠性解决方案。
2025-09-10
LED
-

Bourns创新推出SRN-BTA系列:半屏蔽功率电感实现感值翻倍与辐射降低
Bourns扩展其SRN-BTA系列半屏蔽功率电感产品线,新增五款新型号(SRN2010/2510/3010/3015/4018BTA),最大感值提升至原有系列的两倍,并显著降低磁场辐射。该系列采用底部焊接导线设计增强机械稳定性,通过AEC-Q200车规认证,为汽车电子、工业电源及通信设备提供高可靠性、高性价比的磁性解决方案。
2025-09-10
功率电感
-

15kV高压容变<25%!Vishay一类瓷介电容突破性能极限
威世科技(Vishay)推出HVCC一类瓷介径向引线高压直插瓷片电容系列,支持15 kVDC额定电压,在15 kV条件下电容变化低于25%(仅为二类瓷介电容的一半),介质损耗因子(DF)<1.0%(1 kHz下)。该系列电容值覆盖100 pF至1 nF,工作温度范围-30℃~+85℃,为医疗X射线、工业激光器等高压发生器提供低损耗...
2025-09-10
陶瓷电容
-

罗姆SiC MOSFET助力舍弗勒逆变砖量产,赋能中国电动汽车
全球知名半导体制造商罗姆(ROHM)与德国汽车零部件巨头舍弗勒集团(Schaeffler)共同宣布,搭载罗姆SiC MOSFET裸芯片的新型高压逆变砖正式进入量产阶段。该产品专为中国大型汽车制造商设计,标志着双方战略合作取得重要成果,将为电动汽车市场提供高效、可靠的功率解决方案。
2025-09-10
MOSFET
-

一站式开发:中微半导冰箱方案助力客户降本增效
中微半导体推出一站式高集成冰箱控制解决方案,集成主控CMS32F159、触控CMS32F759与电机驱动CMS32M5510三颗核心芯片,通过硬件融合与算法优化大幅简化外围电路,提升系统可靠性,助力冰箱厂商快速开发高效、完整、可靠的控制系统。
2025-09-10
MCU
-

18MHz0.1dB平坦度:国产运放实现专业视频矩阵全覆盖
川土微电子推出CA-HP6242高速双通道轨至轨输出放大器,支持±2.5V至±5V宽电压供电,具备135MHz带宽与235V/μs压摆率。该芯片在18MHz范围内实现0.1dB增益平坦度及0.02%差分增益误差,输出摆幅达±4.8V(1kΩ负载),为高清视频处理、高速ADC驱动及医疗成像设备提供高精度信号链解决方案。
2025-09-10
功率放大器
-

超低静态电流+全面保护!HOLTEK新品稳压器助力设备续航倍增
Holtek推出新一代低静态电流低压差线性稳压器HT75Rxx-1及HT75Rxx-7系列,支持3.1V-30V超宽输入电压范围及2.1V-12.0V多档输出电压,最大输出电流达150mA。HT75Rxx-1静态电流低至1μA(精度±1%),HT75Rxx-7支持使能控制引脚(待机电流0.1μA)及过流/过温保护,为电池供电设备、通信终端及音视频设备提...
2025-09-09
恒压变压器(稳压器)
-

超薄设计+高效率传输!Abracon LTE天线破解紧凑空间信号难题
Abracon推出AANI-CH-0202系列超薄LTE芯片天线,尺寸仅40×7×3mm,支持698-960MHz及1710-2690MHz双频段,效率超过50%。采用PCB工艺制造,兼容标准回流焊工艺,可贴装于PCB边角,为全球LTE 4G/3G/2G蜂窝应用提供高性价比解决方案,并通过PTCRB/GCF认证。
2025-09-09
通讯线
-

140°C高温无畏!TDK超紧凑电容破解汽车电子散热难题
TDK株式会社推出B41699(轴向式)与B41799(焊星式)系列超紧凑铝电解电容器,工作温度高达+140°C,支持60g振动稳定性与34.6A大纹波电流(10kHz)。该系列电容容量覆盖1800-13000μF,在+125°C环境下寿命超过4000小时,并通过AEC-Q200车规认证,为电动转向(EPS)、风扇控制及xEV平台提供高可靠性解...
2025-09-09
聚合物电容
- 国产芯片与系统深度融合!兆易创新联袂普华软件破局汽车电子
- 揭秘未来劳动力:贸泽与Molex新电子书解析机器人技术变革
- 台积电大陆芯片生产遇阻,美国豁免撤销加速国产替代进程
- 2025年Q2全球DRAM营收突破316亿美元,创近年单季最高涨幅
- 200W开关功率:Pickering 600系列继电器通吃高压高能场景
- 安森美亮相PCIM Asia 2025,带来汽车、工业及AI数据中心电源技术盛宴
- 中国电子展组委会联袂电子制造产业联盟:四地探企,智启新程
- 单对以太网新突破:10BASE-T1L实现千米级工业通信传输
- 电子电路无声卫士:扼流线圈技术演进、应用生态与全球供应链格局
- 未来工厂:利用搭载人工智能的传感器在边缘做出决策——第2部分
- 车规与基于V2X的车辆协同主动避撞技术展望
- 数字隔离助力新能源汽车安全隔离的新挑战
- 汽车模块抛负载的解决方案
- 车用连接器的安全创新应用
- Melexis Actuators Business Unit
- Position / Current Sensors - Triaxis Hall











