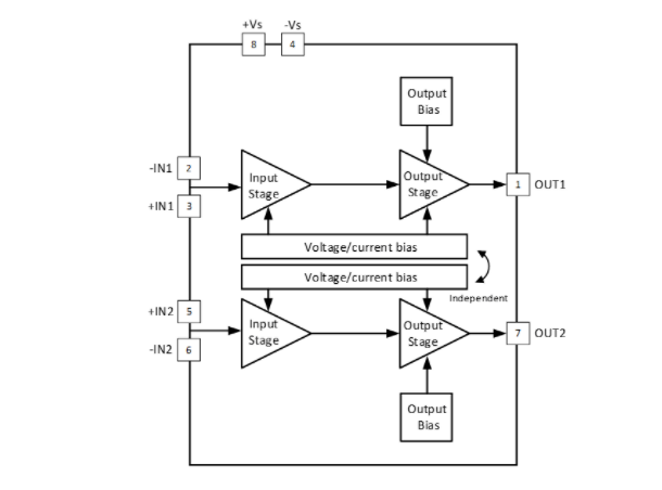
【导读】川土微电子推出CA-HP6242高速双通道轨至轨输出放大器,支持±2.5V至±5V宽电压供电,具备135MHz带宽与235V/μs压摆率。该芯片在18MHz范围内实现0.1dB增益平坦度及0.02%差分增益误差,输出摆幅达±4.8V(1kΩ负载),为高清视频处理、高速ADC驱动及医疗成像设备提供高精度信号链解决方案。
川土微电子推出CA-HP6242高速双通道轨至轨输出放大器,支持±2.5V至±5V宽电压供电,具备135MHz带宽与235V/μs压摆率。该芯片在18MHz范围内实现0.1dB增益平坦度及0.02%差分增益误差,输出摆幅达±4.8V(1kΩ负载),为高清视频处理、高速ADC驱动及医疗成像设备提供高精度信号链解决方案。
一、技术难点及应对方案
二、核心作用
解决高速信号链中精度与速度的平衡难题:
●专业视频矩阵切换延迟降低至16ns(建立时间1%)
●超声成像系统信噪比提升>3dB
●工业ADC采样率支持至100MSPS(无失真驱动)
三、产品关键竞争力
●速度性能:235V/μs压摆率(竞品普遍<150V/μs)
●视频优化:0.02%差分增益误差(广播级标准<0.05%)
●驱动能力:50mA输出电流(直接驱动75Ω同轴电缆)
●温度适应性:全工业温域(-40℃~125℃)
四、同类竞品品牌型号对比(表格)及表格分析
表格结论:
CA-HP6242在综合性能与功耗控制上表现突出,视频指标优于TI,温度范围超越圣邦微,唯ADI在带宽和精度上略有优势但功耗更高。
五、实际应用场景
●4K视频制作:
SDI信号调理(0.04°相位误差保障色彩精准度)
●超声诊断设备:
探头回波信号放大(-77dBc失真确保图像清晰度)
●工业数据采集:
16位ADC驱动(235V/μs压摆率支持10ns脉冲采集)
●自动驾驶感知:
激光雷达信号调理(125℃耐温适应发动机舱环境)
六、产品供货情况
●封装:SOIC-8/MSOP-8(兼容自动贴片)
●渠道:川土微授权代理商(如贸泽/得捷)
●认证:工业级可靠性测试(含1000小时老化)
●交期:样品即时申请,量产6-8周
结语
CA-HP6242以235V/μs压摆率与-77dBc超低失真重新定义国产高速运放性能高度,其广播级视频特性显著提升高清影像系统画质表现。随着工业4.0对信号链精度要求提升,此芯片有望在视频处理、医疗成像等领域替代进口产品,助力中国智造突破技术壁垒。
推荐阅读:
超低静态电流+全面保护!HOLTEK新品稳压器助力设备续航倍增
超薄设计+高效率传输!Abracon LTE天线破解紧凑空间信号难题




